您好,歡迎光臨帝國科技!
帝國博客
更多>>Fortiming晶振公司淺談石英晶體諧振器的基本技術
來源:http://m.jdzks.com 作者:帝國科技 2023年10月14
Fortiming晶振公司淺談石英晶體諧振器的基本技術。石英晶體諧振器(通常稱為“晶振”)由于其無與倫比的高Q,穩定性,小尺寸和低成本的組合而廣泛應用于頻率控制應用。許多不同的物質已經被研究作為可能的諧振器材料,但多年來,石英諧振器在滿足精確頻率控制的需要方面一直是首選。與其他諧振器相比,例如LC電路,機械諧振器(如音叉)和基于壓電陶瓷諧振器或其他單晶材料的諧振器,石英諧振器具有獨特的性能組合。
首先,單晶石英的材料特性隨著時間、溫度和其他環境的變化而非常穩定,并且從一個樣品到另一個樣品具有高度可重復性。石英的聲損失或內耗非常低,這直接導致了石英晶振的一個關鍵特性,即極高的Q因子。石英在1mhz時的本征Q約為107。安裝的諧振器通常具有從數萬到數十萬的Q因子,這比最好的LC電路要好幾個數量級。
石英諧振器的第二個關鍵特性是其相對于溫度變化的穩定性。根據晶坯的形狀和方向,可以使用許多不同的振動模式,并且可以通過適當的選擇將石英諧振器的頻率-溫度特性控制在接近的范圍內。最常用的諧振器類型是at切割,其中石英坯以薄板的形式切割,與晶體的光軸成約35°15'的角。
石英諧振器的第三個基本特性與其機械性能的穩定性有關。短期和長期的穩定性表現為每年只有百萬分之幾的頻率漂移,這很容易從商業單位獲得。在嚴格控制的條件下制造的精密晶體單元在頻率穩定性和精度方面僅次于原子鐘。
石英石板材方位
石英晶振由適當安裝和金屬沉積的晶體石英板組成,利用體聲波(BAW)振動。最初,石英板是由天然石英制成的,但今天,人工培養的石英幾乎完全被使用。薄片(也稱為晶圓片或毛坯)是相對于石英材料的結晶軸在一個精確的方向上制造的。方向或“切割”決定了諧振器的頻率-溫度特性和其他重要特性。

以上是用于制造at切割諧振器的由y取向種子晶體生長的培養石英晶體的示意圖。種子晶體建立了最初的晶體取向,并以犧牲z軸為代價促進了Y方向的生長。晶種是經過精心挑選的,以避免在晶體生長過程中可能產生的缺陷。表明了晶種的位置。從x軸向左傾斜的線表示AT板的鋸切位置,向右傾斜的線表示bt切割。在實踐中,這些角度是非常關鍵的,并使用布拉格x射線衍射精確確定。
振動模式
(a)彎曲模式(彎曲或彎曲);切口:5°X, NT;頻率~ 100khz。
(b)拉伸模式(沿板長度方向的位移);切割:MT, GT;頻率:40 - 200khz。
(c)剪切模式(兩個平行平面向相反方向滑動)。該模式細分為:
臉剪切;切口:CT、DT;頻率:100 - 600千赫。
厚度剪切;切割:AT, BT, SC;頻率:1 - 30mhz(基頻);30 - 90 MHz(三次諧波泛音模式);60 - 150 MHz(5次諧波泛音模式);等。
Fortiming晶振公司淺談石英晶體諧振器的基本技術。適當定向的電極激發所需的振動模式。雖然已經開發了大量不同的切割,但有些只用于低頻,有些用于頻率控制以外的應用,還有一些已經被后來的發展淘汰了。除了用于石英手表和時鐘的低頻音叉32.768K外,當今應用中幾乎所有的石英諧振器都使用厚度剪切模式。在大約1mhz以上的頻率,主要使用At -cut和SC-cut。對于低于1mhz的頻率,厚度模式諧振器通常因為尺寸而變得不切實際,因為空白直徑必須遠遠大于厚度。
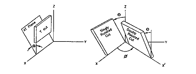
Fortiming晶振公司淺談石英晶體諧振器的基本技術。厚度-剪切諧振器的基頻與其厚度成反比。晶坯越薄,頻率越高。在第三次、第五次諧波等泛音處有額外的共振,其頻率近似于基本共振頻率的奇數倍,但不是精確的。石英晶體諧振器通常被設計為優化這些共振中的一個或另一個的特性,例如基頻或第三泛音,但其他泛音必須仍然存在。at -cut通常在1 MHz至250 MHz及以上的頻率范圍內制造,并且在此范圍內通常是大多數應用的最佳選擇。然而,AT-cut對諧振器體內的應力很敏感,無論是由外部溫度快速變化引起的溫度梯度引起的,還是由外力引起的。對于需要極端穩定性的應用,這種應力敏感性是一個缺點,并且已經開發出新的晶體切割,例如SC(應力補償)切割,可以最大限度地減少這些影響。sc切割晶體是雙旋轉晶體家族中的一種(石英晶體以相對于三個結晶軸中的兩個的角度切割)。家族中的其他成員包括IT-cut和FC-cut。SC-cut的特殊角度(35°15 ø ~ 21°54)提供了最大的應力補償,代表了最佳的雙旋轉設計。SC-cut也是一種厚度模式諧振器,因此基本上可以在與AT-cut相同的頻率范圍內使用,但由于制造工藝困難,其商業可用性受到更多限制。
正在載入評論數據...
相關資訊
- [2024-05-24]Bliley為您的設計尋找完美晶體振蕩器BOCS2-32.768KHZMBN-ABCT
- [2024-05-23]Jauch壓控溫補晶振O 10.0-JTS53HCV-F-K-3.3-1510-1015-LF適合在苛刻的環境中使用
- [2024-05-21]Euroquartz振蕩器差分輸出邏輯EMW576D33-155.52-2.5-30+75
- [2024-04-18]Fox推出FT1GNKUK26.0-T3溫補晶振提高性能
- [2024-04-13]Rakon用于先進無線電網絡的長期保持解決方案
- [2024-04-12]SiTime Endura低功耗SiT5543專用于國防領域
- [2024-04-12]SiTime解決了支持GPS的防御系統中的關鍵挑戰SiT7111
- [2024-04-11]Suntsu推出汽車晶體和振蕩器SAO22C3A4B1-30.000M






業務經理